Humidaire Company, Inc

Phone: 215-467-4646 Fax: 215-467-1667
29 & Wharton Streets
Philadelphia, PA 19146
humidair@comcast.net

Replacement Parts for FH-182




parts
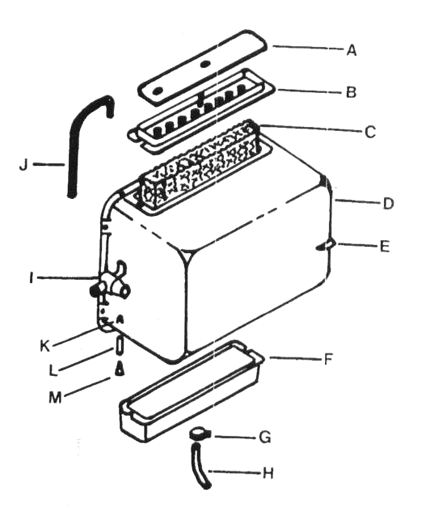
Description Part Number Key
Cover - Distribution Tray H-7503 A
Distribution Tray H-7501 B
Evaporator Pad (AWP-3) H-7504 C
Housing H-7500 D
Selector-Damper H-7514 E
Drain Pan H-7502 F
Clamp - Tube H-3094 G
Drain Tube H-7515 H
Solenoid Valve -24V H-7506 I
Solenoid Valve 115V H-7505  
Supply Tube H-7510 J
Orifice (40 - 120 PSI) H-7509 K
Orifice (20 -40 PSI) H-7516  
Inlet Fitting H-7507 L
Strainer Inlet H-7508 M
Channel - Pad (2 Reg) H-7511 Not Shown
Lockdown Screw Cover H-7520 Not Shown
Parts Bag H-7519 Not Shown
1/4" Compression Nut/Ferrule H-2030/161 Not Shown

Last Updated on 12/9/2004
Blower Fans
Email_Humidaire

Visit our Blower wheel and Fan Blade (propeller) availablility and quote request pages